에어버스 ‘시속 5500km’ 초음속 제트기 특허 출원
수정 2015-12-10 15:10
입력 2015-12-10 15:10
유럽의 항공기 제작사 에어버스가 런던에서 뉴욕까지 불과 1시간 만에 도착 가능한 새로운 초음속 제트기 개발에 나섰다.
지난 9일(현지시간) 비즈니스 인사이더 등 외신은 에어버스가 미국 특허청에 마하 4.5인 시속 5500km로 비행할 수 있는 제트기 특허를 미국 특허청에 출원했다고 보도했다.
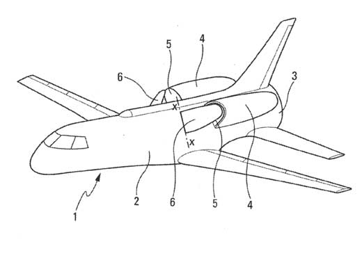
지난 7월에 이어 두번째로 등록된 이번 에어버스 특허는 기존 디자인보다 진일보했다. 먼저 7월 출원된 '콩고드2'로 불린 제트기 디자인은 마치 거북이처럼 둥글둥글해 일반적인 비행기 스타일과는 차이가 크다.
그러나 이번에 출원된 디자인은 세련된 첨단 비행기의 모습을 갖췄으며 속도 또한 마하4에서 조금 더 빨라졌다. 기체의 특징으로는 몸통 양편에 2개의 터보엔진과 주 로켓엔진을 달고 있어 무려 100km 상공까지 수직으로 치솟은 후 음속 장벽을 돌파한다.
에어버스가 초음속 제트기 개발에 나서는 이유는 역시 무궁무진한 사업성 때문이다. 세계가 글로벌화 되면서 먼거리를 짧은 시간에 이동해야 하는 VIP들의 수가 크게 늘어난 것. 이에 초음속 여객기에 대한 수요가 생기자 에어버스가 이같은 흐름에 편승한 것이다.
에어버스가 제작을 추진중인 초음속 제트기는 최대 20명 탑승 가능하며 미국 LA에서 서울까지 3시간 대면 도착할 만큼 가공할 속도를 자랑한다. 에어버스 측은 주로 미국과 유럽을 오고가는 글로벌 비즈니스맨이 고객이 될 것으로 예상하고 있으나 군사적인 목적으로도 활용될 것으로 기대하고 있다.
사실 초음속 여객기 사업의 원조는 영국과 프랑스가 공동개발한 콩코드다. 지난 2003년 10월 마지막 비행을 끝으로 퇴역한 세계 유일의 초음속 여객기 콩코드는 최고 시속이 마하 2.2에 달해 런던과 뉴욕 사이를 단 3시간 30분만에 주파했다.
그러나 우리 돈으로 무려 1600만원이 훌쩍 넘는 편도요금(런던-뉴욕)과 초음속으로 인한 엄청난 소음, 두배 이상의 연료 소모 등의 문제를 남기고 역사속으로 사라졌다.
이같은 이유 때문에 항공 전문가들은 적절한 요금은 물론 가장 큰 기술적 문제였던 초음속 비행에 따른 소음문제를 넘어서야 할 핵심 과제로 보고있다.
박종익 기자 pji@seoul.co.kr
Copyright ⓒ 서울신문 All rights reserved. 무단 전재-재배포, AI 학습 및 활용 금지
![THE NEXT : AI 운명 알고리즘 지금, 당신의 운명을 확인하세요 [운세 확인하기]](https://imgmo.seoul.co.kr/img/n24/banner/ban_ai_fortune.png)
